双域激电仪在井中激电工作方法试验研究
doi: 10.20008/j.kckc.202506012
王见荥1 , 李锋2 , 丁赛2 , 李晨晶2 , 李志恒2 , 叶树民3 , 那晓勋4
1. 河北裕融地球物理勘查有限公司,河北 廊坊 065000
2. 河北省地球物理勘查院(河北省浅层地热能研究中心),河北 廊坊 065000
3. 廊坊市立福地质勘查技术有限公司,河北 廊坊 065000
4. 河北华勘资环勘测有限公司,河北 承德 067000
基金项目: 本文受河北地矿集团科研项目“井中双域激发极化法新技术研究”(20241107)资助
Experimental study on the working method of dual-domain IP meter in well
WANG Jianying1 , LI Feng2 , DING Sai2 , Li Chenjing2 , LI Zhiheng2 , YE Shumin3 , NA Xiaoxun4
1. Hebei Yurong Geophysical Exploration Co., Ltd., Langfang 065000 , Hebei, China
2. Hebei Geophysical Exploration Institute (Hebei Shallow Geothermal Energy Research Center), Langfang 065000 , Hebei, China
3. Langfang Lifu Geological Exploration Technology Co., Ltd., Langfang 065000 , Hebei, China
4. Hebei Huakan Resources and Environment Survey Co., Ltd., Chengde 067000 , Hebei, China
摘要
井中激电法是金属矿钻孔中的有效地球物理方法之一。本文基于双域激电仪研发成果,在井中开展双域激发极化法试验研究,从装置的功能、技术指标、装置布置和试验方法等多方面进行了详细阐述,并将试验结果与时域激电仪进行了对比,验证了双域激发极化法的可靠性。该双域激电仪通过一次观测即可同时测量频域激电和时域激电的全部参数,包括视相位ϕS、视电阻率ρS、视极化率ηS、视幅散率FS,视相散率 XS和自然电位VSP共6个电性参数,其具有抗干扰能力强、精度高等优势,可为双域激电法在井中找矿提供多物性参数及理论依据。
Abstract
Downhole induced polarization/resistivity method is one of the most effective geophysical methods in the exploration of metallic deposits. Based on the research of dual-domain exciter, we conducted the experimental study of dual-domain downhole induced polarization/resistivity method. The function, technical index, device layout and test method of the device are elaborated in detail. The test results are compared with the time domain excimer, and IP instrument, which verifies the reliability of the dual domain IP method.The dual-domain IP instrument can measure all parameters of frequency domain ips and time domain ips simultaneously through one observation, including apparent phase ϕS, apparent resistivity ρS, apparent polarizability ηS, apparent divergence FS, apparent divergence XS and Spontaneous potential VSP six parameters in total, and has the advantages of strong anti-interference ability and high precision, and provides multiple physical parameters and theoretical basis for the dual-domain IP prospecting in well.main IP method in mine, underground and borehole prospecting.
0 引言
20 世纪70年代初期,在国内,以北京地质学院、内蒙物探队等为主,对井中激发极化法(下称井中激电)进行了较系统的理论研究和野外试验应用 (傅良魁等,1982),取得了令人满意的成果。1976 年开始进行推广(蔡柏林等,1983李金铭,2004)。至 21 世纪初,国家颁布了井中激电技术规程,起到了规范指导作用,促进了井中激电的应用和发展。至今,在普查勘探多金属矿床的不同阶段中,井中激电都取得了一定的地质效果。目前,井中激电法已成为金属矿钻孔地球物理综合方法中的有效方法之一(潘和平,2013张磊等,2017汪青松等, 2021韩国胜,2023郝海强等,2023)。
然而,国内外所有的井中激电研究和测量,都是在时间域激发极化法(TDIP)(下称时域激电)条件下进行的(齐勇攀等,2020苏晓波等,2020王安平和古志文,2021张参辉等,2022),其供电波形为占空比等于 1∶1 的间断矩形波,其周期一般选为 4 s、8 s、16 s 或 32 s,测量参数为视极化率 ηS(视充电率 MS)和视电阻率 ρS赵伟锋等,2023)。截至目前,尚未见有人提出和使用频率域激发极化法(FDIP) (下称频域激电)或双域激发极化法(DDIP)(下称双域激电)进行井中激电试验研究的相关报导。
从21世纪伊始至今,国内逐渐开始了双域激电仪的研发应用。在自然资源部、中国地质调查局、黑龙江省和青海省自然资源厅的大力支持下,相位激发极化法(下称相位激电)经历了 20 多年的发展历程,取得了丰硕的成果:2002 年相位激电仪首次解决了频域激电测量视(绝对)相位的问题,并完成了 1∶5 万相位激电普查 24 km2,开创了中国地面电法普查的先河。2005年4月解决了频域激电供电条件下,双域激电全参数同时测量的问题(叶树民等, 2021b)。2008 年 4 月,为规范指导黑龙江省多宝山外围1∶5万相位激电调查,编写下发了“相位激发极化法技术要求”(中国地质调查局),2011年7月解决了时域激电供电条件下,双域激电全参数同时测量的问题(叶树民等,2011)。至此,相位激电仪升级为双域激电仪获得成功。2013年3月部局推广了双域激电仪及其方法技术系统(即双域激电法),通过在内蒙、江西、北京、山西、辽宁、河南、河北、青海、福建、广西和黑龙江(多宝山外围 1∶5 万 14 个图幅相位激电调查)等省区以及在国外(尼日利亚、苏里南)100 多个不同地区、不同矿种上的野外推广应用,完成1∶5万相位激电调查约8000 km2,完成总物理点约 20 万个,发现矿致异常 300 多处,经验证有 30多处分别见到硫化物型钼矿、金矿、银锌矿、铅锌矿和银矿,取得了明显的找矿效果和社会经济效益 (叶树民等,2005朱朝吉等,2010)。
但是,以上全部实物工作量的完成以及成果的取得都是在地表实现的,据此,本文基于双域激电仪研发成果(叶树民等,20112021a),开展“井中双域激发极化法新技术研究”,为双域激电法在矿场、地下和钻孔的找矿中提供参考。
1 双域激电仪简介
在传统频域激电中只能测量频域参数:视电阻率和视相位(如国外仪器 GDP32和 V8等)或者视电阻率和视幅散率(国内的幅频仪和双频仪等)。而时域激电只能测量时域参数:视电阻率和视极化率 (视充电率)(如 GDP32、北京地质仪器厂、重庆地质仪器厂 DZD-8 直流激电仪、奔腾公司和大地公司等)。
双域激电仪在传统仪器基础上进行了创新改进,采用一次供电、一个频率/周期、一次观测即可同时测量频域激电和时域激电的全部参数(包括视相位ϕS、视电阻率ρS、视极化率ηS、视幅散率FS,视相散率 XS和自然电位 VSP共 6 个参数),其供电波形既可以是频域激电的连续矩形波,也可以是时域激电的间断矩形波。这样一来,即可将时域激电法与频域激电法2个分支融为一体,形成了“双域激发极化全参数同时测量法”,简称“双域激电法(DDIP)”。双域激电仪测量的视相位(ϕS)是激电效应纯异常,数值准确、稳定、精度高,异常衬度大,便于发现异常。同时,该仪器还可实时记录并显示电位差曲线,有利于当时和事后数据质量检测,用于资料的二次开发。另一方面,因采用发收自同步,相位测量不受遮挡影响,测量也可在坑道中进行。该仪器较常规仪器轻便灵活,具有速度快效率高的优势,为深部矿体探寻提供了方便。
2 试验钻孔地质概况
试验钻孔为河北省围场县河西村钼多金属矿普查项目的 ZK10002 孔,孔深 610.8 m,终孔倾角 72°,终孔方位156°。
(1)地层试验区主要出露下白垩统义县组 (K1y),中新统汉诺坝组(N1h),第四系更新统马兰组 (Qp3m)和全新统冲洪积松散堆积(Qhalp)。
(2)岩浆岩试验区内侵入岩、火山岩均较发育,前者主要形成于早白垩世,后者主要形成于早白垩世义县期及中新世汉诺坝期。侵入岩主要由浅成石英二长斑岩(ηoπK1)、正长花岗斑岩(ξγπK1)和碱长花岗斑岩(χργπK1)等组成;火山岩主要由粗安质角砾岩、粗安岩、杏仁状粗安岩、潜流纹岩等组成。
(3)构造试验区内早白垩世早期构造活动,形成了北东向 F1 断裂和 F2、F6、F7 次级小断裂,造成了早白垩世粗安岩强烈的劈理构造。试验区内早白垩世晚期构造活动,形成了 F3、F4 和 F5 断裂,晚期构造事件所形成断裂构造明显切割破坏了早期构造事件所形成的区域性劈理。
(4)成矿条件试验区矿液活动受断层控制,北东向 F1 断层既为侵入岩,也为矿液活动提供了通道,次级 4 条小断裂也为多次矿液活动提供了通道和赋存空间,以至于造成粗安岩、浅粗安岩和石英二长斑岩等岩性的强烈矿化蚀变,如硅化、绿泥石化、黄铁矿化以及辉钼矿化等。这些矿化岩层为试验区激电法的应用提供了物质基础。
(5)地球物理特征对 ZK10002 孔全孔进行电法物性参数测量,采集岩心标本为 109 块。面团法测定岩心标本电阻率,极化率。其物性参数统计结果见表1。岩心电性参数测定结果表明:含钼矿化及黄铁矿化岩心段极化率平均值较高。正长花岗斑岩、花岗斑岩、二长花岗斑岩电阻率平均值较高,石英二长斑岩和粗安岩电阻率变化范围较大,钼矿化及黄铁矿化段电阻率偏低。部分岩心较破碎无法测量,物性测量整体趋势与激电测曲线较吻合。
3 井中双域激电工作方法
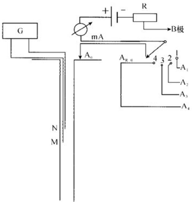
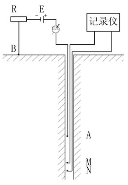
工作布置:本次井中双域激电工作采用井井工作方式测井(图1)和地井方式方位测井(图2),方位测量布置平面图(图3)。
1ZK10002孔岩心物性参数统计
注:测试单位为河北省地球物理勘查院(河北省浅层地热能研究中心),测试时间为2023年8月。
1双域激电测井示意图
2双域激电方位测井示意图
井井工作方式测井:测井采用 A5M0.5N的底部梯度电极系,点距为 5 m,使用孔数为单孔,排列类型采用大极距三极梯度排列,rB无穷远极距选择为梯度装置时 rB应大于井深的 3~5 倍,ZK10002 选取 rB=1800 m。MN测量极距为10 m。
地井方式方位测井:采用四方位激电测井,点距为 10 m,异常段可加密到 5 m,使用孔数为单孔,排列类型为井口供电井中测量排列,井旁多方位供电井中测量,rB无穷远极距选择为梯度装置时 rB应大于井深的 3~5倍,ZK10002选取 rB=1800 m。rA距井口距离一般为井深小于 500 m时,rA选用 50~300 m,ZK10002 中选取 rA=180 m,MN 测量极距为 10 m,供电波形为占空比为 1∶1的间断矩形波,周期为 16 s。此外,为了便于成果对比,井中时域激电测井工作采用重庆地质仪器厂 DZD-8 多功能全波型直流电法仪,JCH-3 绞车控制器及绞车。井中双域激电采用双域激电仪的 SY-1 发送机和 XW-1 接收机。获取了两种方式的质量情况(表2)。
3双域激电方位测量布置平面图
4 井中双域激电试验效果分析
4.1 时域激电仪与双域激电仪井中测量结果比较
图4为DZD-8直流激电仪和双域激电仪分别在该孔同时测量的结果。图中左侧为视极化率曲线 ηS(黑)和视相位曲线ϕS(红),两者几乎完全平行,正负异常符合程度都很高。两条曲线之所以分开一点距离,原因在于参数量纲和所选比例尺不同,即 ηS是百分数%,而 ϕS则是毫弧度 mrad,前者数值较低,反映异常能力较弱,后者数值较高,反映异常能力较高;图中右侧为视电阻率曲线,黑色曲线为 DZD-8所测视电阻率 ηS,而红色曲线为双域激电仪所测 ηS,两者几乎完全重合,说明精度较高,两种仪器都可用于井中激电测量,而且能够相互印证。
2井中时域激电与井中双域激电质量情况对比
4直流激电仪和双域激电仪测量结果比较图
4.2 井中双域激电测井曲线特征
4.2.1 井中双域激电全参数同时测量曲线特征
图5为该孔在时域激电供电条件(间断矩形波) 下,双域激电仪一次观测获得的激电全参数测量结果。其地质效果较好(如 4.1所述)。自左至右参数曲线依次是:视相位 ϕS(黑色)(基波的相位)、视极化率 ηS(红色)(延时 30 ms)、视幅散率 FS(紫色)(频差25倍)、视电阻率ρS(蓝色)和自然电位VSP(绿色)。其中,前3个参数视相位、视极化率和视幅散率都是用来表征地下岩矿石激发极化特性的,这 3 条曲线的形态及其细节、正负值所对应的极化体完全相同,不仅说明三者的观测精度高,而且具有同等的找矿能力;第 4 个参数视电阻率反映了电阻率的差异,高阻反映围岩,低阻反应矿体;第 5 个参数自然电位反映了地下天然氧化还原电化学场的差异,由于钻孔的整个观测段都处于地下潜水面以下的还原带,故自然电位均为正值。
5双域激电全参数同时测量曲线图
4.2.2 ZK10002孔测井(井井方式A5.0M0.5N)曲线特征
时域激电和双域激电由DZD-8发送机供电,分别由 DZD-8接收机和 XW-1接收机同时测量完成。其中,DZD-8测量参数为黑色曲线,XW-1测量参数为红色曲线(图6),可见6处明显异常特征。
(1)在孔深 110~150 m 处,存在中等极化高阻异常,视极化率 ηS=4%~5%,视相位 ϕS=-8~-10 mrad,视电阻 ρS=4000~6000 Ω·m。对应岩性为碎裂化弱绿泥石化弱绢云母化蚀变石英二长斑岩。
(2)在孔深270~290 m处存在明显高极化高阻异常,视极化率 ηS=11%~12%,视相位 ϕS=-10~-40 mrad,视电阻率 ρS=7000~8000 Ω·m,对应岩性为碳酸盐化潜粗安岩。
(3)在孔深369.20~377.90 m(厚度8.70 m)处存在高极化低阻异常,视极化率 ηS=11%~12%,视相位 ϕS=-15~-60 mrad,视电阻率 ρS=600 Ω·m,异常凸起明显,对应岩性为裂隙状硅化、黄铁矿化石英二长斑岩,黄铁矿化和辉钼矿化较发育,其中,灰黑色的辉钼矿化沿裂隙发育,多呈细脉浸染状。采了 9 件化学分析样,其中 6 件样品钼含量达到边界品位,含Mo为0.033%~0.057%。
6两接收机井中测量比较图
(4)在孔深 427.50~431.50 m(厚度 4 m)处存在中等极化低阻异常,视极化率 ηS=7.5%,视相位 ϕS=-10~-30 mrad,视电阻率 ρS=800~900 Ω·m,岩性为裂隙状辉钼矿化硅化黄铁矿化石英二长斑岩。采集 4 件化学分析样,分析结果含 Mo 为 0.033%~0.057%,处在边界品位左右。
(5)在孔深 437.50~438.50 m(厚度 1m)处存在中等极化中阻异常,视极化率 ηS=7.0%,视相位 ϕS=-25 mrad,视电阻率 ρS=900~1000 Ω·m,岩性同上。采集1件化学样,Mo含量为0.091%,达到工业品位。
(6)在孔深 399.90~411.20 m、499.80~512.60 m 和 550 m 以下几处高极化低阻异常,都对应岩性为碳酸盐化黄铁矿化石英二长斑岩,分析均由该斑岩中的黄铁矿化所引起。
综上所述,(3)、(4)、(5)所述的高极化低阻异常为矿致异常,由裂隙状辉钼矿化硅化黄铁矿化石英二长斑岩引起。本区含矿岩性即为矿化石英二长斑岩;(1)和(2)所述的中等极化高阻异常为非矿异常,由蚀变石英二长斑岩、碳酸盐化潜粗安岩引起;(6)所述的几处高极化低阻异常亦是非矿异常,由斑岩中的黄铁矿化所引起;孔深 600 m 处显示为高极化低阻趋势,又恰终孔在含矿岩性中,建议加深钻孔,以追索深部异常,发现新的矿体。此外,井中激电测量视极化率出现负值,而视相位出现正值属于正常现象,这是因为测量电极进入极化体内部,其极化方向与极化体外部相反所造成的。
由两种接收机测量比较结果可看出,左侧的两条曲线,视相位(红)和视极化率(黑)曲线,两条曲线的形态几乎完全一样,正负高低异常都对应很好,说明两接收机测量结果可靠,可以相互印证和替代。右侧的两条曲线都是视电阻率曲线,两曲线的符合程度较高,只是高阻时略有差异。由于双域激电仪 XW-1 接收机具有自同步功能,故可与任何型号时域激电发送机搭配,接收其发出的矩形波电流信号。
4.3 井中双域激电方位测量结果(地井方式 MN=10 m)
图7为 5 个方位的双域激电测量结果,本图只给出了视相位 ϕS(红色)和视电阻率 ηS(蓝色)曲线。从左至右曲线依次为:
7五方位供电井中测量视相位和视电阻率曲线
(1)第 1 组曲线为 A0 方位(井口):由于 A 极在井口供电,B极在无穷远(rB=1800 m),相当于垂直极化。所以,浅部即进入极化体的内部,视相位异常为正值(即视极化率为负值),孔深480~580 m出现视相位高值异常,ϕS=-20~-30 mrad。浅部岩石破碎,视电阻率较低,孔深360~380 m显示高阻,深部视电阻率高低相间。
(2)第 2 组曲线 A1(156°)方向:A1 极打在井口东南 156°方向,距离井口 rA= 180 m 处的第四系沟里,这是钻孔倾斜方向。整个孔视电阻率较低,视相位曲线特征与 A0 相似,孔深 480~580 m 出现视相位高值异常,ϕS=-20~-30 mrad。
(3)第 3 组曲线 A2(246°)方向:A2 极打在井口西南246°方向,距离井口rA= 180 m处。这是矿化体走向的南西方向。整个孔视电阻率较低,视相位曲线特征与 A0 相似,孔深 480~580 m 出现视相位高值异常,ϕS=-20~-30 mrad。
(4)第 4 组曲线 A3(336°)方向:A3 极打在井口西北 336°方向,距离井口 rA= 180 m 处,这是钻孔倾斜方向的相反方向。与第2组曲线A1相比,二者视相位曲线形态基本相似,而第 2 组曲线的视电阻率曲线比较平缓,本组曲线视电阻率曲线普遍较高。说明在孔口的北西方向上视电阻率变化较大。
(5)第5组曲线A4(66°)方向:A4极打在井口北东66°方向,距离井口rA= 180 m处,这是矿化体走向的北东方向。与同样处在走向上的第 3 组曲线 A2 相比,视视电阻率和视相位曲线都比较相似,说明在走向方向上,两个参数变化不大,不具各向异性特征。
综合上述, A0~A4 的 5 条视相位曲线形态来看,虽然浅部略有不同,但是孔深250 m以下基本相似,说明各个方向极化特征均匀且变化不大。孔深 480~580 m 出现视相位高值异常预示着深部可能存在高极化矿化体,该孔应加深,以期打到新的矿体;视电阻率值 A0 最高,A3 较高,A1、A2 和 A4 较低。虽然 5 条视电阻率曲线数值上有高低之分,但不同方位的电阻率结果在不同深度上的趋势,具有一定的规律性和相关性。在走向上(66°~246°)视电阻率比较均匀,变化幅度不大;在西北 336°方向上(钻孔倾向相反的方向)视电阻率较高,这是因为 A3电极打在高视电阻率(其平均值为1654 Ω·m)的二长斑岩体上的影响所致;在南东 156°方向上(钻孔倾向方向)A1 电极打在第四系覆土上,致使所测电视阻率较低。以上特征都是实际情况的反映。
5 结论和建议
5.1 结论
本次双域激电测井中,在孔深370~380 m处高极化低阻异常和孔深 428~438 m 处中等极化低阻异常为矿致异常,其他异常均为非矿异常。同时,双域激电方位测量电阻率值沿走向方向变化不大,沿倾向的北西方向上视电阻率值高且变化较大;视相位值沿走向和倾向方向较均匀变化不大,在 480 m以下,视相位值增高,有可能深部存在高极化矿化体。另外,本次井中双域激电测量的电磁感应影响问题,基本可以忽略不计。原因有三:①井中视电阻率不低,普遍在数百至数千欧姆米;②供电波形为间断矩形波(占空比为 1∶1),周期 T=16 s,单个脉冲宽度 4 s,频率较低;③井中三极电极系相当于单级-偶极装置,电磁耦合较小,加之无穷远极供电导线铺在地表,与井中测量导线互相垂直,两者夹角为 90°,其余弦等于零(cos90°=0),即线间耦合趋于零。
5.2 建议
双域激电仪与DZD-8直流电法仪相比,具有同等的测量结果和地质效果,可以用来完成井中双域激电的测井和方位测量工作。此外,双域激电仪较 DZD-8 直流电法仪相比,可多测参数视相位 ϕS、视幅散率FS,视相散率XS和自然电位VSP,对低缓、弱矿化具有较高的分辨率,抗干扰能力强,可进一步加强其在激电测井中的推广与应用,发挥井下观测多电性参数的优势,便于多参数、多角度研究井下地质体物性特征。
致谢  感谢河北省区域地质调查院及贾立民硕士为笔者提供了宝贵的钻孔资料和良好的工作条件。
1双域激电测井示意图
2双域激电方位测井示意图
3双域激电方位测量布置平面图
4直流激电仪和双域激电仪测量结果比较图
5双域激电全参数同时测量曲线图
6两接收机井中测量比较图
7五方位供电井中测量视相位和视电阻率曲线
1ZK10002孔岩心物性参数统计
2井中时域激电与井中双域激电质量情况对比
蔡柏林, 黄智辉, 谷守民. 1983. 井中激发极化法[M]. 北京: 地质出版社.
傅良魁, 李金铭, 罗延钟, 叶树民, 吴汉荣. 1982. 激发极化法[M]. 北京: 地质出版社.
韩国胜. 2023. 井中激发极化法在金属矿产勘查中的应用[J]. 世界有色金属, (12): 169-172.
郝海强, 刘志远, 杨闪, 王建国, 张明科, 谢静博. 2023. 激发极化法在西非加纳某锰矿勘查中的应用[J]. 矿产勘查, 14(7): 1106-1113.
李金铭. 2004. 激发极化法方法技术指南[M]. 北京: 地质出版社.
潘和平. 2013. 井中激发极化法在矿产资源勘探中的作用[J]. 物探与化探, 37(4): 620-626.
齐勇攀, 李水平, 荆鹏. 2020. 时间域激电法在坦桑尼亚尼亚斯罗利金矿勘查中的应用[J]. 矿产勘查, 11(6): 1270-1276.
苏晓波, 王殿学, 徐红军, 穆海旗, 马振宇, 黄笑. 2020. 时间域激发极化法在内蒙古小牛群铜多金属矿的应用[J]. 矿产勘查, 11(5): 970-976.
汪青松, 张金会, 尤淼, 毛思斌, 产思维. 2021. 井中矿层多要素探测方法研究与厚覆盖区金矿勘查试验——以皖东北五河地区为例[J]. 地质与勘探, 57(1): 136-145.
王安平, 古志文. 2021. 时间域激发极化法在某多金属矿勘探中的研究与应用[J]. 科技通报, 37(9): 16-22, 28.
叶树民, 常守恩, 吴守七. 2005. 激电绝对相位及时频激电多参数同时测量的方法及仪器[P]. 专利号[ZL200510063337. 8].
叶树民, 常守恩, 吴守七. 2011. 双域激电全参数同时测量的方法[P]. 专利号[ZL201110205600. 8].
叶树民, 常守恩, 吴守七. 2021a. 一种接收矩形波周期信号的自同步方法[P]. 专利号[ZL202110039212. 0].
叶树民, 常守恩, 吴守七. 2021b. 一种双域激电仪[P]. 专利号[ZL202122892428. X].
张参辉, 李水平, 白德胜, 程华, 曹杰, 张爱玲, 孙进, 赵华奇. 2022. 时间域激电法在浅覆盖区萤石矿勘查中的应用——以河南省方城县铁炉萤石矿床为例[J]. 地质与勘探, 58(2): 369-380.
张磊, 蒋鹏, 王琴. 2017. 频率域激发极化法双极-偶极装置在青海省都兰县金矿区找矿中的应用研究[J]. 世界有色金属, (24): 111-112.
赵伟锋, 王瑞鹏, 孙冠石, 裴明星, 李添, 王鹏, 刘佳彬. 2023. 激发极化法在寻找铜银多金属矿床中的应用[J]. 矿产勘查, 14(5): 776-784.
朱朝吉, 周肇武, 王智茂. 2010. 频率域激发极化法在西藏哈拉山铅锌矿区的应用[J]. 地质与资源, 19(1): 67-70.